logo
علوم وتقنية

براءة اختراع جديدة.. ساعة أبل تعمل ببصمة الإصبع (فيديو)

كشف تقرير جديد نشره موقع "Patently Apple" عن براءة اختراع جديدة سجلتها شركة "أبل" مؤخرًا، تتمثل في تسجيلها لمجموعة من المزايا الفريدة على متن ساعتها "أبل ووتش"، وأبرزها أن الساعة ستعمل ببصمة الإصبع.

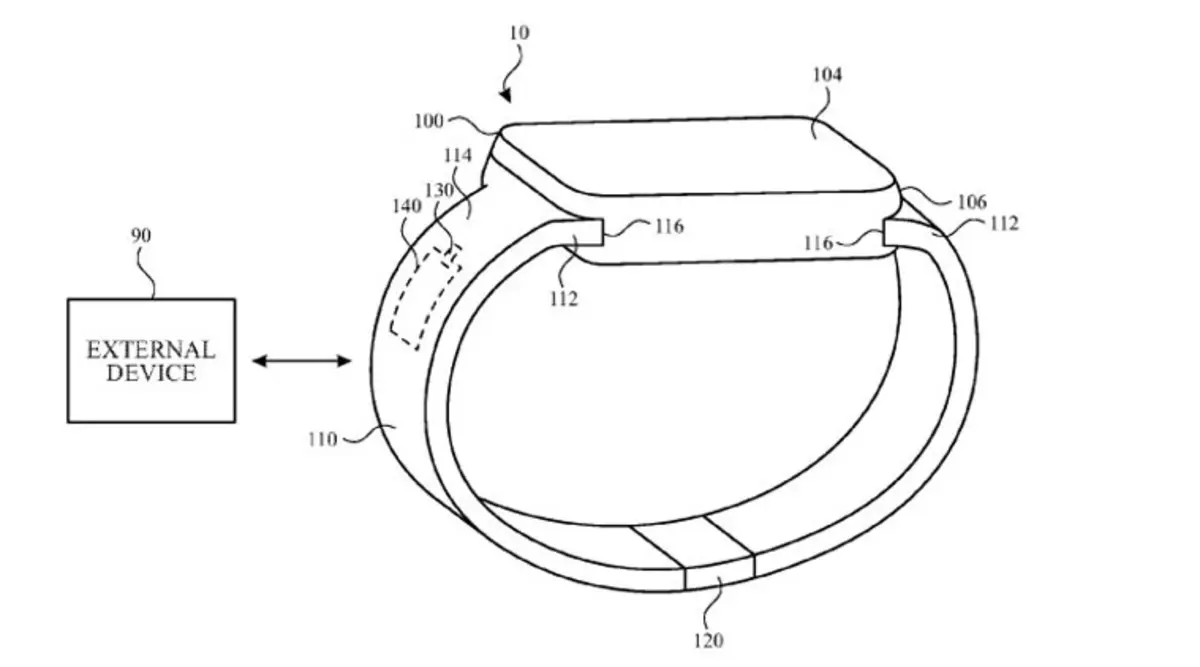
وتقول براءة الاختراع أن تصميم ساعة أبل سيكون مختلفًا بعض الشيء عما هو عليه حاليًا، حيث سيحمل سوار الساعة شرائط خاصة بإرسال موجات لاسلكية بحيث يمكن استخدامها لتبادل البيانات والاتصال بساعات أبل أخرى أو أجهزة عبر الاتصال لاسلكيًا بها، وهذا يوضح أن الساعة وسوارها سيكونان كيانًا واحدًا وقد يكون السوار في هذه الحالة مصنوعًا من المعدن.



كما أشارت براءة الاختراع إلى أن الساعة ستتيح أكثر من وسيط لإدخال البيانات إلى جانب شاشتها، مثل مستشعر لقراءة بصمة الإصبع، وبالتالي يمكن تأمين ساعتك بشكل أفضل، وكذلك جهاز يقرأ قوة الضغط، ويمكن التحكم بشكل أفضل بمستوى أكبر من الدقة في إتمام المهام.

قدمت "أبل" هذه البراءة خلال العام الماضي وتم إقرارها من جانب مكتب براءات الاختراع الأمريكي منذ أيام، وبالتأكيد لا يوجد أي مؤشر يمكنه الإقرار بقدوم تلك المزايا على متن ساعة أبل المقبلة، لكن قد نراها في المستقبل.

logo
تابعونا على
جميع الحقوق محفوظة © 2026 شركة إرم ميديا - Erem Media FZ LLC